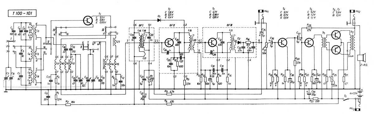
Портативный радиоприёмник "Stern T100"
выпускался с 1961 года фирмой "VEB Stern-Radio", ГДР. Супергетеродин на
семи транзисторах. Диапазоны: LW - 150...300 кГц. MW - 500...1600
кГц. SW - 5,8...7,6 МГц. Селективность на LW, MW 24 дБ, на SW 18 дБ. Чувствительность
на LW 2 мВ/м, MW 1,5 мВ/м и на SW 0,8 мВ/м. ПЧ 455 кГц. АРУ. Питание 6
вольт, 1,5 В х 4 элемента типа АА. Диаметр громкоговорителя 6,5 см. Максимальная
выходная мощность 150 мВт. Диапазон воспроизводимых частот 330...3300 Гц.
Габариты 154x90x42 мм. Масса 510 гр.
Видеосюжет.
Фотографии с сайтов abetterpage.com,
kofferradiowelt.de.
-
-
-
-
-
-
-
-
-
-
-
-