На стартовую страницу сайта
 
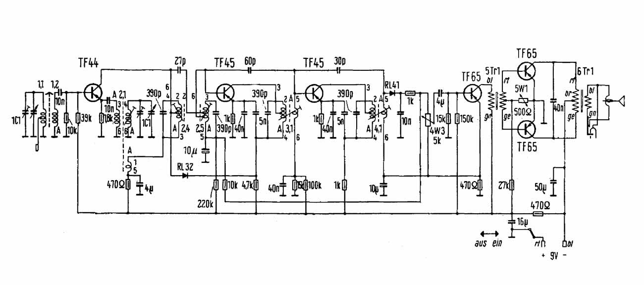
Портативный радиоприёмник "Siemens T1" выпускался с 1959 года компанией "Siemens", Германия. Супергетеродин. 6 транзисторов. Диапазон средних волн - 520...1650 кГц. Питание 9 вольт. Громкоговоритель диаметром 6 см. Максимальная выходная мощность - 100 мВт. Габариты приёмника - 82x124x40 мм. Масса с батареей 400 грамм.                              Фотографии радиоприёмника с сайта abetterpage.com.
 

-----

i