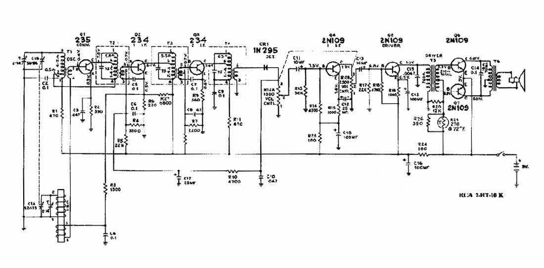
| Портативный радиоприёмник "RCA Victor
7BT-10K" выпускался с 1955 года компанией "RCA Victor", США. Супергетеродин.
Семь транзисторов. Диапазон 540...1600 кГц. ПЧ 455 кГц. Питание от батареи
"VS-301", которой достаточно на 500 часов работы. Громкоговоритель эллиптический.
Диапазон воспроизводимых звуковых частот - 90...5000 Гц. Максимальная выходная
мощность 300 мВт. Габариты - 255x170x100 мм.
Видео.
Фото с сайтов abetterpage.com,
collection.sciencemuseumgroup.org.uk
и worthpoint.com.
- - - - - - - - -
|