На стартовую страницу сайта
 
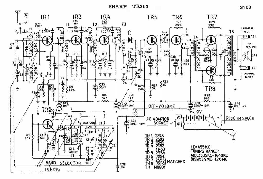
Портативные радиоприёмники "Sharp TR-203" и "Coronado RA50-9907" с 1958 и с 1959 года соответственно выпускали японская компания "Hayakawa Electric", (Sharp) и американская компания "Gamble-Skogmo". Модели, кроме наименования и производителей не отличаются друг от друга. Супергетеродин на восьми транзисторах. Диапазоны АМ 535...1605 кГц и SW 3,9...12 МГц. ПЧ 455 кГц. Питание шесть элементов "АА". Диапазон частот звука 220...4000 Гц. Максимальная выходная мощность 200 мВт. Габариты модели 191x121x52 мм.                   Фото с сайтов http://www.abetterpage.com/, https://www.worthpoint.com/ и https://picclick.com/.
 

--------

i