На стартовую страницу сайта
 
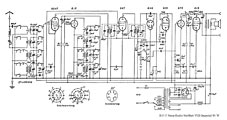
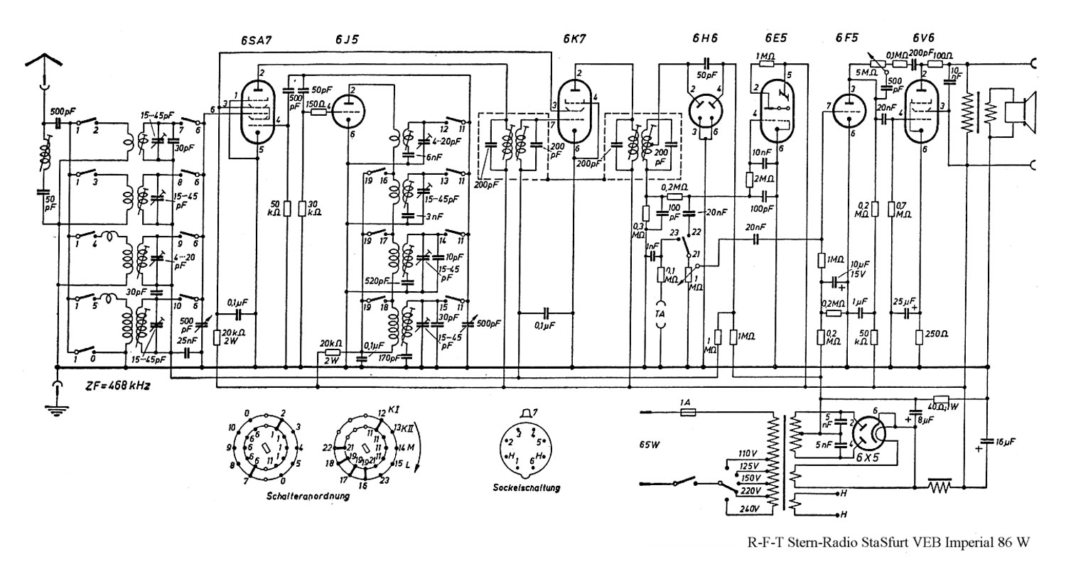
Сетевой ламповый радиоприемник "Штассфурт Империал 86В" выпускался фирмой "RFT", Германия с 1948 года. Радиоприёмник возможно до 1951 года поставлялся в СССР, поэтому и находится на сайте. Информация о модели имеется в интернете.

Видеоролик на Ю-Тубе о работе радиоприёмника "Штассфурт Империал 86В".
 

--------

i