На стартовую страницу сайта
 
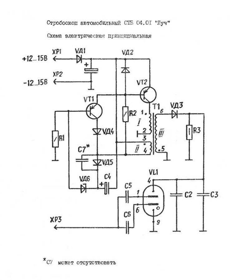
Стробоскоп автомобильный "Луч" производился с 1994 года Московским обществом с ограниченной ответственностью "Элпласт". Стробоскоп автомобильный "Луч" типа (СТБ 04.01) предназначен для проверки и регулировки начального угла опережения зажигания, а также для проверки работоспособности центробежного и вакуумного регуляторов опережения зажигания в автомобильных карбюраторных двигателях.
 

-----------

i