На стартовую страницу сайта
 
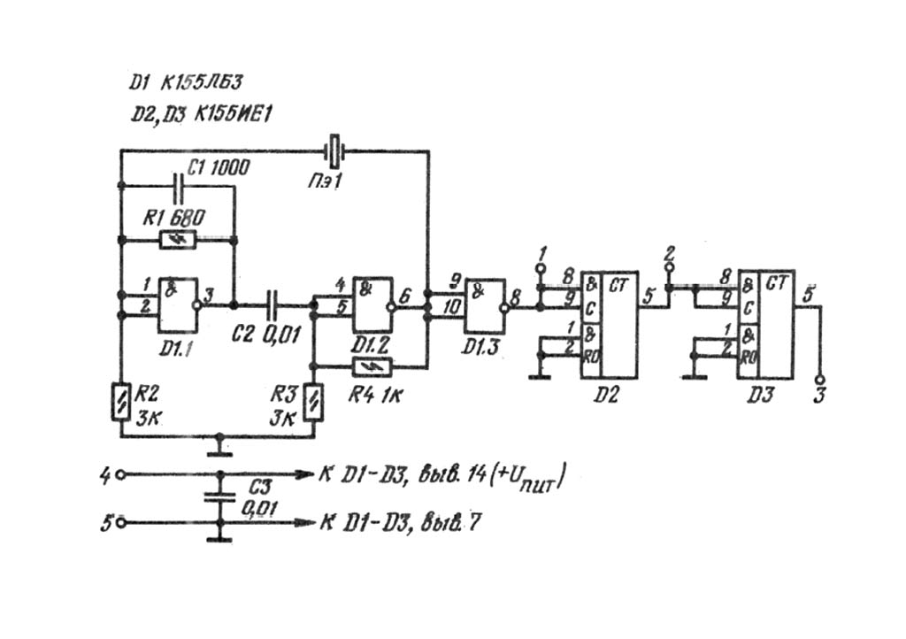
РК "Калибратор кварцевый" выпускал с 1980 года Каменец-Подольский завод "Электроприбор". Позволяет собрать калибратор с частотами 1, 10 и 100 кГц.

Подробное описание радиоконструктора в журнале Радио № 12 за 1982 год.

--

i