На стартовую страницу сайта
 
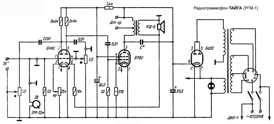
Радиограммофон сетевой ламповый "Тайга" (тип РГМ-1) с начала 1956 года выпускал Новосибирский электромеханический завод. Радиограммофон предназначен для проигрывания обычных и долгоиграющих пластинок через усилитель радиограммофона, в котором применены лампы 6Н9С и 6П6С + кенотрон 6Ц5С в выпрямителе. Усилитель НЧ и громкоговоритель радиограммофона могут также использованы для включения в радиотрансляционную сеть. Радиограммофон смонтирован в ящике чемоданного типа, со съёмной крышкой и отделан пластиком. В установке применены пьезокерамический звукосниматель типа ЗПК-55М и электродвигатель ДАГ-1, с двухскоростным редуктором и рычагом переключения скоростей. Звукосниматель подключается ко входу усилителя и к специальным гнёздам, размещенным на боковой стенке ящика. С помощью этих гнёзд звукосниматель можно использовать и для проигрывания граммофонных пластинок через усилитель радиоприёмника, с более качественной акустической системой. В 1959 году радиограммофон был модернизирован и выпускался на пальчиковых лампах 6Н2П, 6П14П. В выпрямителе стояли диоды. РГ выпускался с наименованием "Тайга" но РГМ-2, поэтому  именовался иногда как "Тайга-2". Радиограммофонов двух типов выпущено ~ 10 тысяч экземпляров. Радиограммофон предназначался для комсомольских строек Сибири и Дальнего Востока в качестве награды или предмета отдыха.

Инструкция по эксплуатации (Елена Кобелева).         Описание в Радио № 9 за 1956 год.       Электрическая схема.           Фотографии с сайтов http://rt20.mybb2.ru/, http://forum.violity.com/ и с интернет аукционов.
 

-------------------------

i